
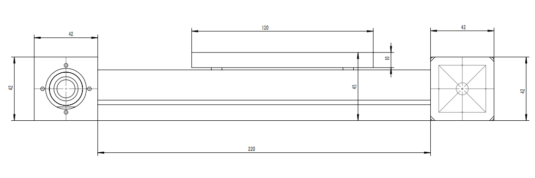
上图为40型材宽时代超群DSXM系列密封款同步带直线导轨,此系列同步带有效行程可做到50mm-3000mm,水平载重20kg。同步带采用高刚度铝合金做机体;运行速度快,****可到800mm/s;有效行程大,最长可做到3米;可任意组装,接收非标定制;具有高等级机械效率;摩擦系数小,噪音低,维护少。导轨的尺寸图如下: 
 
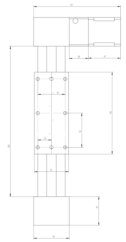
此系列导轨可配42、57步进电机 60伺服电机,需要相应的连接件来安装。上图在42连接件的基础上加了一个57的连接片,可装57步进电机 
两相混合式步进电机57HBS56AL4-TF8 步距角1.8° 扭矩1.2N.m,电流3A,机身高56MM,出轴长22mm,轴径Φ6MM或者Φ8MM,圆轴或者铣扁均可定制,此款电机结构简单、可靠性高、经济耐用。 
如果垂直使用,可以采用1.2NM加刹车步进电机,刹车供电24V,断电刹车。

ZD-2HD542是我公司采用自主研发的高性价比的细分驱动器,特别适合大批量低成本用途,同时具有优越的性能。由于采用了三态控制技术,比市面上大多数驱动器的电机噪音和电机发热均有明显改善。此驱动器的细分多达十五种,SW4 可设置静止半流,极大地减小了电机发热。具有更宽的电流和电压。电机发热和噪音也明显改善,高速性能也较大提升,驱动器的尺寸也较小,和市面上的驱动器相比,****竞争力和吸引力。 ZD-2HD542两相步进电机驱动器低价格,高速力矩大;供电电压可达50V;输出电流峰值可达4.2A(均值3.0A);三态电流控制技术电机发热低;静止电流自动减半0.4S 减小为60%;可驱动4,6,8 线两相步进电机;光隔离差分信号输入,脉冲****响应频率****可达200KHz;细分精度128可选;外形尺寸小巧;电流设定方便,八档可选;4 位拨码,共15 档细分;具有过压、短路等保护功能;双极恒流PWM 驱动输出。
联系方式:QQ:467102884 电话:13811070445(刘女士)
相关文章:
带导轨滑台移动速度可达1.5M/s 同步带导轨搭配刹车步进电机垂直载重5KG高速性能为普通丝杆导轨的两倍 客户定制导程100MM的密闭同步带导轨配86步进电机驱动套装 有效一米同步带导轨配1.5NM步进电机驱动套装设置回零限位
86系列闭环系列电机和驱动如何搭配使用
57以下步进电机可搭配驱动器有哪些 适配57以下电机的驱动模块各优势比较 0.9NM两相高精度低噪音步进电机经典搭配 1.5NM三相57系列步进电机性能测试 机床数控系统专用可编程逻辑控制器/PLC 新品推荐——机床数控系统CX200T功能介绍 使用进口原装高速智能芯片做为平台的CS10-3控制器接线说明 新品推荐——经济型步进电机控制器 CS10-3适用于各种环境恶劣环境的能控制器功能设置及说明(LP) 适用于传感器控制往返运动、定长控制和速度控制的控制器 具有高抗干扰能力的CS10-4控制器安装和接线示意图 体积小、可靠性高、寿命长、易于使用的单轴控制器 CS10系列单轴控制器性能比较 |