
时代超群T型丝杆直线导轨滑台,一个很大的特点是T型丝杆具有一定的自锁力,客户垂直带载的时候电机可以不加刹车来锁住负载,但是这个自锁力是有限度的。 比如T0808丝杆, 丝杆直径8MM,导程8MM,那么可以锁住大概10KG的负载, T0804和T0802可以锁住大概15KG的负载。。当然也要考虑负载的体积,负载体积要适中,符合导轨的实际尺寸 
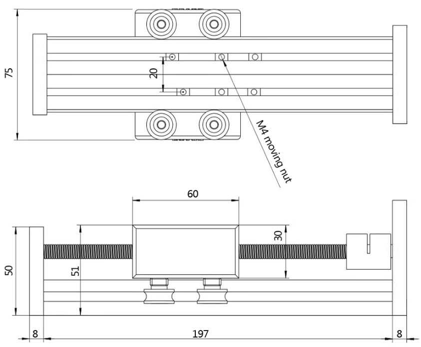
上图为时代超群DTX0808J-100梯型丝杆导轨,有效行程长度100mm,导程8mm,丝杆直径8mm,水平载重15Kg,垂直5KG,精度0.1mm/每300mm,速度1-66mm/秒。搭配42步进电机或者57步进电机,此款电机结构简单、可靠性高、经济耐用。 产品尺寸图如下: 

联系方式:13811070445(刘女士) 
相关文章:
|