
机床进给系统采用直线步进电机直接驱动与原旋转电机传动方式的****区别是取消了从电机到工作台(拖板)之间的一切机械中间传动环节。即把机床进给传动链的长度缩短为零。 故这种传动方式即称“直接驱动”(Direct Drive),惯称为“直线驱动”,也又称为“零传动”。时代超群认为正由于这种“零传动”方式从而带来了原旋转电机驱动方式无法达到的性能指标和一定优点。 (1)高速响应性 一般来讲机械传动件比电气元器件的动态响应时间要大几个数量级。由于系统中取消了一些响应时间常数较大的如丝杠等机械传动件,使整个闭环控制系统动态响应性能大大提高,使反应异常灵敏快捷。 (2)高精度性 由于取消了丝杠等机械传动机构,因而减少了插补时因传动系统滞后带来的跟踪误差。通过直线位置检测反馈控制,可大大提高机床的定位精度。

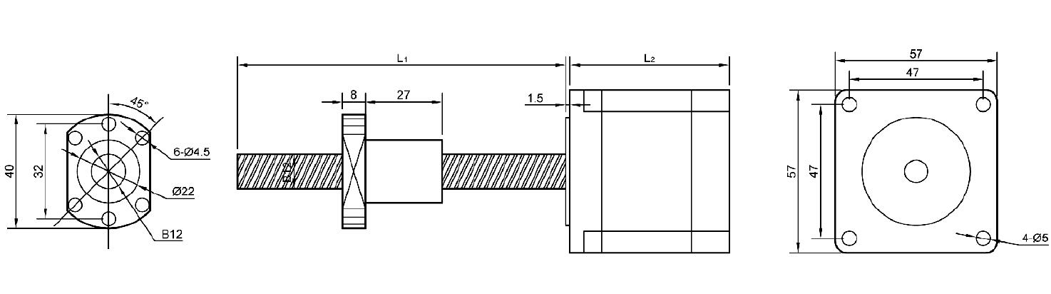
上图为梯形丝杆直线电机为57B76AT0808D-20,电机静扭矩1.5NM,电流3A,机身长76,止口38MM,孔距47MM,有效行程200MM,导程为8MM,直径为8MM,电机结构简单、反应速度快、灵敏度高、随动性好、密封性好、不怕污染、适应性强,和控制系统相配合,可做到0.001mm的位移精度和自锁能力。直线电机的丝杠部分可根据客户要求的
轴径、轴长、导程、丝杠的类型(滚珠、T型丝杠)等定制。 (3)传动刚度高、推力平稳 “直接驱动”提高了其传动刚度。同时直线电机的布局,可根据机床导轨的形面结构及其工作台运动时的受力情况来布置。通常设计成均布对称,使其运动推力平稳。 (4)速度快、加减速过程短 直线电机最早主要用于磁浮列车(时速可达500km/h),现在用于机床进给驱动中,要满足其超高速切削的****进给速度(要求达60~100m/min或更高)当然是没问题的。也由于“零传动”的高速响应性,使其加减速过程大大缩短,从而实现起动时瞬间达到高速,高速运行时又能瞬间准停。加速度一般可达到2~10g(g=9.8m/s2)。 (5)行程长度不受限制 在导轨上通过串联直线步进电机的定件,就可无限延长动件的行程长度。 (6)运行时噪声低 由于取消了传动丝杠等部件的机械摩擦,而其导轨副又可采用滚动导轨或磁垫悬浮导轨(无机械接触),使运动噪声大大下降。 (7)效率高 由于无中间传动环节,也就取消了其机械摩擦时的能量损耗。









 
点击图片查看宝贝详情
联系方式:QQ:467102884
电话:13811070445(刘女士)
相关文章: 57系列梯形丝杆直线电机有哪些? 57系列滚珠丝杆直线电机有哪些? 42系列梯形丝杆直线电机有那些? 42系列滚珠丝杆直线电机有哪些? 0.02NM的T型丝杆直线电机有哪些? 常用直线步进电机汇总 ******的直线电机型号命名规则
|